| Sign In | Join Free | My benadorassociates.com |
|
Brand Name : Kingpo
Model Number : KP-8869D
Certification : Calibration Certificate
Place of Origin : China
MOQ : 1
Price : To be Quoted
Payment Terms : T/T
Supply Ability : 10 sets per month
Delivery Time : 30 working days
Packaging Details : safety carton pack or plywood box
Standard : UL859
fuse : 10A/250VAC
UL 859 Cord Flexing Tester,Cord flexing test apparatus-6 station
Product Introduction
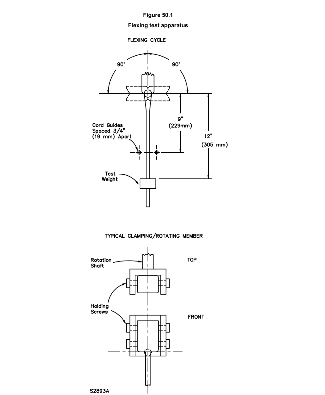
The Household Appliance Supply Cord Flexing Test Apparatus is special designed and manufactured according to IEC60335-1-clause 25.14,IEC60335-2-23-cl.11.101,UL859-clause 49,UL859-clause52, it is used to check the power cord flexing (bending) resistance performance of the small household appliances (such as Coffee pot / electric iron, hair dryer,blower-styler, heated air comb or brush, hair dryer-curling iron combination, wall-hung hair dryer, or the hand unit of a wall-mounted hair dryer) and lamps, also applicable for power cord flexing endurance tester of plugs and sockets.
The device is controlled by PLC and operated by 7-inch color human-machine interface. The bending angle, the number of tests and the test rate can be preset. The test is automatically carried out according to the start-up test. When the test reaches the preset number of times, the device automatically stops and gives the test completion signal prompt. The built-in load of the device, can also supply load current to test sample.
Technical Parameters
| Item Name | Parameters |
| Model | KP-8869D |
| Test station6 | station |
| Flexing angle | 0-720°. Can be preset |
| Flexing speed | 0~60 rpm, can be preset |
| Load weights | 113g, 1N, 5N, 10N |
| Test times | 0~999999 times, can be preset |
| Starting position (origin) selection | The starting position can be set arbitrarily so that the irregular sample cord exit is perpendicular and substantially coincides with the center of rotation to minimize lateral displacement. |
| Operation principle | The servo motor drive system is adopted, high regulation precision of swing angle and speed. |
| Built-in load | The device has a built-in load 5KW voltage regulator, which can adjust the voltage from 0 to 250V and display the current and voltage digitally. |
| Power | 220V 50/60Hz |
| Control | With visual touch screen display and PLC control, control and parameter settings are very intuitive and convenient. |
| Signal indication | Test completion and disconnection alarm indicator display |


|
|
UL 859 Cord Flexing Tester, Cord flexing test apparatus-6 station Images |